Home
About
走进伟林
ABOUT Weilintech
Company Profile
Corporate Culture
Development History
Honors & Certifications
System Certifications
News
Products
Application
Service
产品编号:-用于过电压保护(高温、标准/高能型)
产品说明:
产品详情
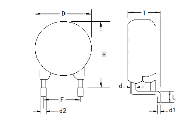
产品规格
其他产品
OTHER PRODUCTS
-用于过电压保护(高温、标准/高能型)
WLR-C Series